臺灣豪力輝AHA-ER 90°橫向銑頭 角度頭
品牌:HOLDWELL(豪力輝)
型號:G5B399C32BAAF0
¥待詢價(提交訂單10分鐘內獲取專屬報價單)

產品特點:
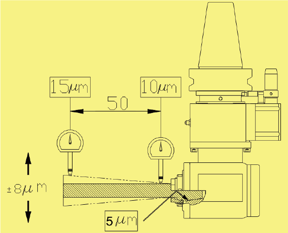
? SCZY角度頭采用高精度的螺旋齒輪和軸承以獲得更高的精度和剛性。

?

| 型號 | φD | S | L | A | B | C | E | F | φG | H | 重量 | 傳動比 | 最大轉速 |
| BT40-SCER32-150 | 2~20 | 60/65 | 150 | 78.2 | 63.8 | 89 | 80 | 36 | 88 | 7 | 1:1 | 3000 | |
| BT40-SCER32-185 | 185 | 113 | 9 | ||||||||||
| BT50-SCER32-175 | 80/85/110 | 175 | 103 | 13 | |||||||||
| BT50-SCER32-195 | 195 | 113 | 14 | ||||||||||
| SK40-SCER32-176 | 60/65 | 174 | 8.8 | ||||||||||
| SK50-SCER32-173 | 80/85/110 | 173 | 13 |

| A | B | C | |
| 傳統角度頭 最大夾持直徑20 | φ171 | 160 | 88 |
| SCZY角度頭 最大夾持直徑20 | φ156 | 140 | 88 |

?
?
思誠資源為您提供:SCZY 90°角度頭/側銑頭的采購報價、SCZY(思誠資源)G5BC7EEFE5EC74型號參數、規格圖片、PDF畫冊等資料,如您想了解更多關于SCZY(思誠資源)正品品牌的其他90度角度頭資料與產品貨期庫存、行情價格,就在思誠資源MRO商城。
備注:因廠家會在沒有任何提前通知的情況下更改產品包裝、產地或者一些附件,本公司不能確??蛻羰盏降呢浳锱c思誠資源網站提供的產品圖片、產地、附件說明等完全一致。若本網站沒有及時更新,敬請諒解!
